Boeing patentiert Überschall-Passagierflieger
Experte vermutet Kompetenzkampagne
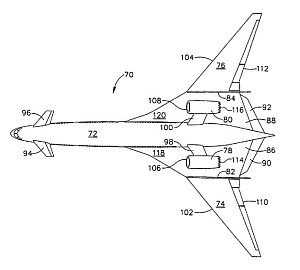
![]() |
Konzept: Boeing konzeptioniert neuen Sonic Cruiser (Foto: Boeing) |
Chicago (pte016/02.05.2012/12:10) Flugzeughersteller Boeing http://boeing.com arbeitet weiter an der Rückkehr des zivilen Überschallfluges. Nun ist ein vor einem Monat hinterlegtes Patent aufgetaucht, das eine Weiterentwicklung des schon 2002 entworfenen "Sonic Cruiser" zeigt. Das Design weist einige Veränderungen auf und wurde vor allem im Bereich der Lärmreduktion weiterentwickelt. Luftfahrtexperte Cord Schellenberg http://schellenberg.at sieht im Gespräch mit pressetext derzeit kein Interesse der Airlines an einem neuen Supersonic-Flieger und vermutet hinter dem Konzept eine Demonstration techologischer Kompetenz zum Gewinn von Aufmerksamkeit.
Pariser Crash beendete Ära
Ein Absturz kurz nach dem Start vom Pariser Charles-de-Gaulle-Flughafen im Juli 2000 besiegelte den Anfang vom Ende der Concorde. Diese war der einzige Passagierflieger, der jenseits der Schallgeschwindigkeit unterwegs war. Obwohl Untersuchungen des unglücklichen Unfallhergangs zeigten, dass auch ein herkömmliches Flugzeug vor einem solchen Crash nicht gefeit gewesen wäre, scheiterte das Comeback 2003 trotz sicherheitstechnischer Adaptionen.
Die Weiterentwicklung der zivilen Luftfahrzeuge erlebte daraufhin eine spürbare Wende. Statt höherer Geschwindigkeiten setzte die Industrie vornehmlich auf Fortschritte im Bereich von Transportkapazitäten und Energieeffizienz. Airbus legte 2005 mit dem "Superjumbo" A380 vor, nach einigen Verzögerungen legte Konkurrent Boeing 2011 das Modell 787 "Dreamliner" nach. Das US-Unternehmen hat dem aktuellsten Entwurf zufolge den Überschallflug aber scheinbar noch nicht ad acta gelegt, wie Dvice berichtet.
Technologieriese sucht Zukunft
Im Vergleich zum Entwurf von 2002 sieht der aktuelle Entwurf des Sonic Cruisers breitere Flügel und auf zwei "Gondeln" montierte Düsentriebwerke vor. Die Konstruktion ist hinten zudem stark abgeflacht und bietet zwei vertikale Außenbord-Stabilisatoren auf. Auf diese Weise soll eine zu starke Schallabstrahlung in Richtung Boden verhindert werden, ein generelles Problem für die Operation schneller Flieger auf städtischen Flughäfen.
"Ich denke, dass Boeing nach Zukunfts-Strategien im Flugzeugbau sucht", meint Schellenberg zum Auftauchen des Patents. "Ein neues Überschallflug-Konzept sichert große Aufmerksamkeit und man kann sich in einem Bereich positionieren, in dem Airbus noch nicht vorgelegt hat", so seine Analyse im pressetext-Interview.
Branche nicht an Concorde-Nachfolger interessiert
Auch wenn der Passagierflug jenseits der Schallmauer nach wie vor mit dem Concorde-Crash behaftet ist, lagen die Gründe für die lange Entwicklungspause beim Sonic-Cruiser-Konzept laut Schellenberg vor allem im mangelnden Interesse der Industrie. Ein Umstand, der sich auch heute kaum geändert haben dürfte. "Die Airlines haben derzeit alle möglichen Probleme zu lösen, Überschallflug gehört nicht dazu", meint der Fachmann unter Verweis auf den Schwund des First-Class-Kundensegments und die Kerosin-Problematik.
Nachdem der langjährige Marktführer aus Chicago im vergangenen Jahrzehnt von Airbus überholt wurde, bietet der Überschallflug auch eine "geschützte Technologienische", in der man sich die Führerschaft sichern könnte. Hier ist nach Schellenbergs Einschätzung durchaus Erkenntnisgewinn möglich, der sich als Vorteil in der herkömmlichen Luftfahrt erweisen könnte.
Denn auch seitens der Passagiere besteht praktisch keine Nachfrage nach einem Concorde-Nachfolger. "Die Kunden sind zufrieden mit dem, was geboten wird. Für ein paar Milliardäre zahlt sich die Entwicklung eines Überschall-Jets nicht aus."
(Ende)| Aussender: | pressetext.redaktion |
| Ansprechpartner: | Georg Pichler |
| Tel.: | +43-1-81140-303 |
| E-Mail: | pichler@pressetext.at |
| Website: | www.pressetext.com |


